Привет парни!
Кто каким софтом пользуется для моделирования фильтров, полосовых, НЧ, ВЧ?
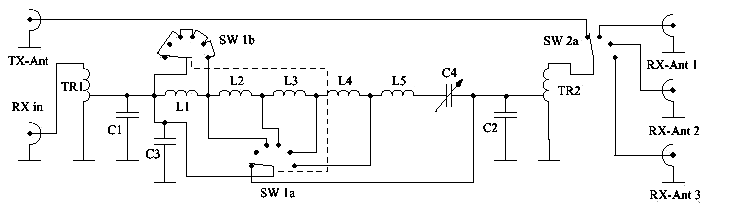
Сейчас хотел отмоделить преселектор, вот такой:
Но не знаю как правильно в RFSimm99 сделать подобные трансформаторы.
Ну или такой:
Тут тоже не совсем понятно, как программе дать понять, чего я хочу.
Какие есть еще варианты программ?
Посоветуйте софт для моделирования
- R2AJI
- Сообщения: 759
- Зарегистрирован: 12 окт 2019, 22:48
- Город: Россошь
- Благодарил (а): 201 раз
- Поблагодарили: 243 раза
Посоветуйте софт для моделирования
Сообщение R2AJI » 27 янв 2020, 17:52
Все вопросы про радио, на форум пожалуйста, в личные сообщения, только личные вопросы.
В противном случае, все равно отправлю на форум.
YouTube канал HAM Radio Channel
В противном случае, все равно отправлю на форум.
YouTube канал HAM Radio Channel
R2AJI
- 2Qay
- Сообщения: 59
- Зарегистрирован: 14 окт 2019, 12:58
- Откуда: Татарстан
- Позывной: ----
- Город: Казань
- Благодарил (а): 19 раз
- Поблагодарили: 11 раз
Посоветуйте софт для моделирования
Сообщение 2Qay » 27 янв 2020, 22:54
Блин, сам с таким вопросом сталкивался. Вообщем есть один вариант рабочий, но только если знаешь как с матлабом работать, и как переходные функции получать, как с симулинком работать.
По крайней мере у нас в универе был предмет один, там мы все расчеты контуров делали в матлабе, вообщем различные фильтры получалось рассчитывать, с получением ачх и фчх.
Есть ещё electronic workbench, но честно сказать, выше 200кГц не моделировал
По крайней мере у нас в универе был предмет один, там мы все расчеты контуров делали в матлабе, вообщем различные фильтры получалось рассчитывать, с получением ачх и фчх.
Есть ещё electronic workbench, но честно сказать, выше 200кГц не моделировал
2Qay
- R9OFG
- Сообщения: 1298
- Зарегистрирован: 03 ноя 2019, 22:30
- Позывной: R9OFG, ex R0AEK
- Город: Новосибирск
- Имя: Саша
- Благодарил (а): 198 раз
- Поблагодарили: 316 раз
- Контактная информация:
Посоветуйте софт для моделирования
Сообщение R9OFG » 04 фев 2020, 20:47
Владимир, можно попробовать задать вопрос напрямую Игорю Викторовичу Гончаренко dl2kq, думаю не оставит без внимания. Я несколько раз получал от него развернутые ответы. А RFSim99 сам пользовался, понравилось.
R9OFG
Вернуться в «Другие радио темы»
Перейти
- Обязательно к прочтению
- Аналоговая схемотехника
- ↳ Супергетеродинные приемники и трансиверы
- ↳ Прямое преобразование
- ↳ Прямое усиление
- ↳ Регенераторы
- ↳ Узлы, блоки, модули
- ↳ Усилители мощности
- Цифровая техника
- ↳ SDR приемники
- ↳ SDR приставки
- ↳ SDR трансиверы
- ↳ Микроконтроллеры и программирование
- Теплая лампота
- ↳ Супергетеродины
- ↳ Регенераторы
- ↳ Прямого усиления
- ↳ УНЧ
- ↳ ВЧ усилители мощности
- Источники питания
- ↳ Трансформаторные и линейные
- ↳ Импульсные и преобразователи
- ↳ Гибриды
- ↳ Аккумуляторы и батареи
- ↳ Альтернативные источники
- Антенны
- ↳ Антенны КВ
- ↳ Антенны УКВ
- ↳ Фидеры кабели
- ↳ Антенные приборы и устройства
- ↳ Тюнеры
- Фирменная аппаратура
- ↳ Yaesu
- ↳ Icom
- ↳ Kenwood
- ↳ Прочие
- Мастерская
- ↳ Измерения, приборы и софт
- ↳ Паяльное оборудование
- ↳ Слесарка
- ↳ ЧПУ и 3D принтеры
- Разное
- ↳ Другие радио темы
- ↳ Полевой день
- ↳ Помогите опознать
- ↳ Куплю Продам Магазины Продавцы
- ↳ Флудильня и оффтоп
- Работа форума